Снятие и установка

 
 構成図


SCIA6061J.JPG

1.
トランスアクスルASSY
2.
サイドオイルシール(左側)
3.
サイドオイルシール(右側)
イラスト内のシンボルマークについては、GIセクション部品構成図内で使用している記号一覧を参照する。
下記シンボルマークについては、指定フルードを使用する。

:ニッサンマチックフルードJ





 
 取り外し

    1.左右フロントドライブシャフトを取り外す。取り外し、取り付け(HR15DE:左側及び右側、 MR18DE:左側)を参照する。
    2.マイナスドライバー等を用いて、サイドオイルシールを取り外す。
    SCIA4069J.JPG
■ 注意 ■
サイドオイルシールを取り外す際は、トランスアクスルケース面及びコンバーターハウジング面に傷を付けないこと。
 
 取り付け

下記の作業に注意し、取り外しの逆の手順で行う。
■ 注意 ■
サイドオイルシールは再使用不可部品のため、再使用しないこと。
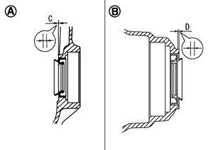
  • トランスアクスルケース側(A)
    SCIA5919J.JPG
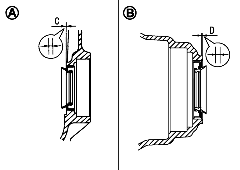
  • コンバーターハウジング側(B)
  • サイドオイルシールのリップ部及び外周面にニッサンマチックフルードJを塗布し、ドリフト(特殊工具)を用いて、ケース端面よりサイドオイルシール突き出し量がC及びD寸法になるようにまっすぐ打ち込む。
    C寸法
    :ケース端面との段差0 ± 0.5 mm以内
    D寸法
    :ケース端面との段差1.1 ± 0.5 mm以内
    参考:
    オイルシールが引っ込む方向を基準とする。


    使用ドリフト
    部位
    特殊工具
    トランスアクスルケース側(A)
    ST35325000
    KV31103000
    コンバーターハウジング側(B)
    KV40104730

  • 作業終了後はA/Tフルード漏れ及び量の点検を行う。点検を参照する。
Оцените статью