ВИЗАТОР
Японские автомобильные аукционы с акцентом на Nissan NV150 AD VY12
Главная
Новости
FAQ
Аукционы
Руководства по ремонту
Nissan Wingroad Y12: полное руководство по ремонту и обслуживанию на русском языке
Поиск
Вы здесь:
Главная
Руководства по ремонту
Nissan Wingroad Y12: полное руководство по ремонту и обслуживанию на русском языке
Тормоза
Тормозная система
Разборка и сборка колесного цилиндра Задний барабанный тормоз
Разборка и сборка колесного цилиндра Задний барабанный тормоз
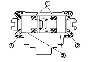
Разборка и сборка колесных цилиндров.
ポイント
組み立ては、下記の作業に注意して行う。
ピストンカップ(1)及びブーツ(2)にニッサンラバールブリカントを、ピストン(3)にニッサンブレーキフルードNo. 2500を塗布する。
■ 注意 ■
ニッサンラバーグリースは使用しないこと。
ピストンを挿入する際、各部品の組付方向に注意し、シリンダーに傷を付けないこと。
Предыдущий: Снятие и установка барабанного тормоза в сборе Задний барабанный тормоз
Назад
Следующий: Сервисные данные о состоянии тормозов
Вперед
Необходимо поставить все оценки
'Поставьте галочку "Я не робот"'
Оцените статью
Отлично
Хорошо
Нормально
Плохо
Ужасно
Ваше имя *
Ваш E-mail *
Текст комментария *
Добавить комментарий
Закрыть