Инспекция

 
 事故後の点検

事故後は、リトラクターを含んだシートベルトASSYを取り付ける全ての部位を点検する。また、シートベルトの取り付け部に損傷、ゆがみ等がないか点検する。衝突した場合、損傷がある場合や正常な作動をしない場合、日産は交換を奨めている。交換を怠った結果、事故の際に重大な人身的危害をもたらす可能性があるからである。
以下の場合はシートベルトを交換する:
  • シートベルトが損傷したとき。
  • シートベルト取り付け部が損傷したとき。(新しいシートベルトを取り付ける前に、取り付け部の損傷、ゆがみなどを点検する。)
  • 使用、未使用にかかわらず、エアバッグが展開した場合。
  • シートベルトが正常に作動しないとき。
 
 事前点検

    1.正常かどうかシートベルト警告灯で点検する。
    • シートベルト未装着状態でキースイッチONにするとシートベルト警告灯は点灯、装着すると消灯する。
    2.シートベルトリトラクター及びバックルのアンカーボルトが確実に締め付けられているか確認する。
    3.シートベルトショルダーアンカーの軸が自由に回転するか、また、シートベルトアジャスターが適切に作動および確実にかみ合うか確認する。
    4.リトラクターの作動点検をする。
      (1)ウエビングを全て引き出して、ねじれ、切れ、その他の損傷がないか点検する。
      (2)ウエビングを巻き戻す。ウエビングがスムーズかつ完全にリトラクターに戻るか確認する。ウエビングがスムーズに戻らないときは、ほこりなどが原因の可能性もあるので、「SEAT BELT、TAPE SET」を用いて、以下の手順で作業を行う。
      フロントシートベルトショルダーアンカー部の点検
      1. ウエビングを50 cm以上引き出す。
      2. センターピラーベルト出口のウエビングをクリップなどで固定する。
      3. ショルダーアンカーのウエビング通し穴に、細い針金を通し、針金両端を手で引っ張りながらウエビング通し穴の表面に沿って数回、上下に移動させて粘着物を除去する。
      4. 針金で取りきれなかった汚れは、きれいな布などでウエビング通し穴を清掃する。
      5. ショルダーアンカーベルト通し穴のウエビングが接触する位置にTAPEを貼り付けること。
        参考:
        TAPEを貼り付けるときは,しわやたるみが無いように貼り付けること。
      6. シートベルトの固定を取り外し、ウエビングがスムーズに巻き戻るか確認する。
      (3)シートベルトをバックルに装着する。その時にしっかりシートベルトが止まっているか確認する。
      (4)シートベルトをバックルより外す。シートベルトを放し、ウエビング及びタングが元の位置に戻るか確認する。
 
 シートベルトリトラクターの車載上点検
 
 ELR機構

  • ELR機構は、急ブレーキなどの緊急時にリトラクターをロックさせ、ウエビングがそれ以上引き出せないよう機構である。
  • 点検には、静的点検と動的点検があり、リトラクターが正常に作動しているかは、以下の項目を行って判断する。
 
 ELR静的点検

ウエビングを前方向にすばやく引くと、リトラクターが ロックし、ウエビングが引き出せなくなることを確認する。
 
 ELR動的点検

■ 警告 ■
  • 他の車や障害になるものがなく、安全な広い場所で以下のテストを行うこと。
  • 舗装され、乾いている路面で行い、濡れている路面、舗装されていない路面や一般道路、高速道路などでは行わないこと(事故や人身事故につながる恐れがある)。
  • 運転手と機能をチェックするリトラクターの席に座った乗員は、リトラクターがロックされなかった場合を想定し、その為の準備をする。

    1.運転席及び他の乗員の席のシートベルトを締める。
    2.時速約16 kmで走行する。
    3.急停車を乗員に通知し、運転手及び他の乗員はリトラクターがロックしない場合を想定し、その為の準備をした上で、しっかりブレーキをかけ、急停車をする。
    4.停車している間、リトラクターがロックされ,ウエビングがそれ以上引き出せないことを確認する。リトラクターがロックしていなければ、リトラクターの単品点検をする。
 
 シートベルトリトラクターの単品点検

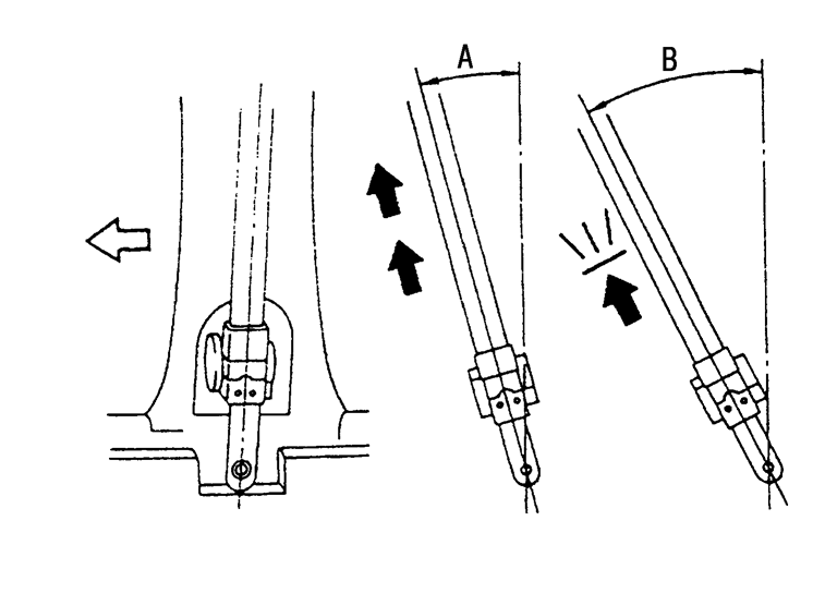
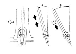
    1.シートベルトリトラクターを取り外す。
    2.図に示されるように、リトラクターをねじらないで、車載取付状態の位置からシートベルトリトラクターを傾け、ゆっくりとウエビングを引き出す。A:15°以下傾けた場合、ウエビングは引き出せる。
    PHIA0954J.JPG
    B:35°以上傾けた場合、ウエビングは引き出せない。
    • A、Bは傾き角度を示す。
    • :車両前方

  • 正常に作動しなければ、シートベルトASSYを交換する。
Оцените статью