Снятие и установка ступицы колеса и подшипника в сборе.
構成図|
1. |
ドライブシャフト |
2. |
アクスルハウジング |
3. |
リヤサスペンションビーム |
|
4. |
バックプレート |
5. |
ホイールハブ&ベアリングASSY |
6. |
コッターピン |
|
イラスト内のシンボルマークについては、GIセクション部品構成図内で使用している記号一覧 を参照する。 |
|||||
付帯作業- ブレーキドラム脱着: ドラムブレーキASSYの取り外し、取り付け参照
- 車輪回転センサー脱着:車輪回転センサー参照
- パーキングブレーキリヤケーブル脱着(バックプレート脱着時):取り外し、取り付け参照
- ブレーキチューブ脱着(バックプレート脱着時):リヤブレーキホースの取り外し、取り付け参照
ポイント取り外しは、下記の作業に注意して行う。
- ハブロックナットを取り外す際は、ハブロックナットレンチ(特殊工具)を用いて行う。
特殊工具 A: KV40104000 - ホイールハブ&ベアリングASSYとドライブシャフトのかん合を外す際は、ハブロックナットを仮付けした状態で木片をハブロックナットにあて、ハンマーで軽打する。■ 注意 ■
- ドライブシャフトのジョイント部に過大な角度を与えないこと。また、スライドジョイントを過大に伸ばさないこと。
- ドライブシャフトが脱落しないようにしておくこと。
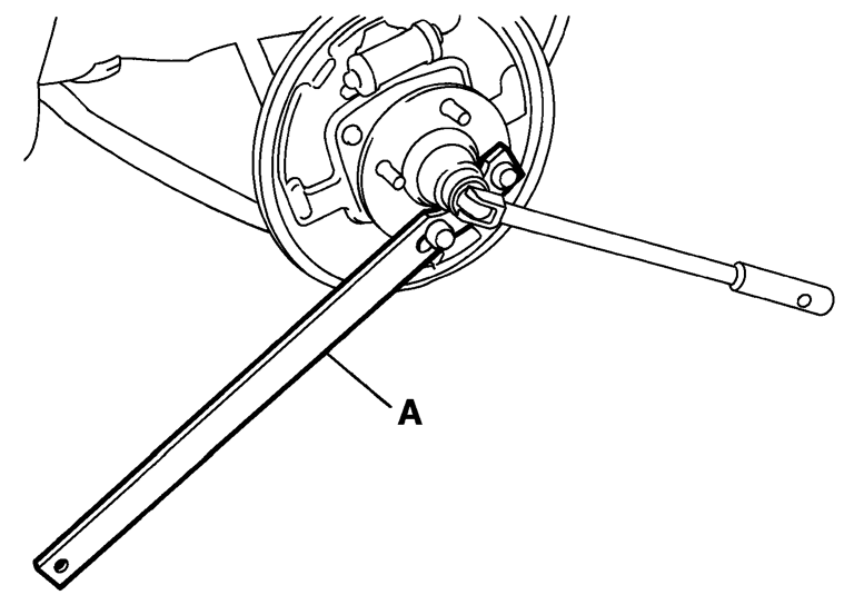
参考:上記方法で分離できない場合は、プーラー(汎用工具)を用いて分離する。 - ドライブシャフトのジョイント部に過大な角度を与えないこと。また、スライドジョイントを過大に伸ばさないこと。
- ホイールハブ&ベアリングASSYを取り外す際は、バックプレート及びシューASSYは取り外さず、脱落しないようにしておく。
取外後の点検構成部品に変形、き裂及び損傷がないか点検し、異常がある場合は交換する。