Разборка, сборка

 
 構成図


PDIA1132J.JPG

1.
センサーローター
2.
ジョイントサブASSY
3.
サークリップ
4.
ブーツバンド(ホイール側)
5.
ブーツ(ホイール側)
6.
シャフト
7.
ブーツバンド(リヤファイナルドライブ側)
8.
ブーツ(リヤファイナルドライブ側)
9.
スパイダーASSY
10.
スナップリング
11.
ハウジング
12.
ダストシールド
13.
サークリップ





 
 ポイント

分解、組み立ては、下記の作業に注意して行う。
 
 リヤファイナルドライブ側の分解
  • ハウジングを取り外す際は、ハウジングとシャフトに合いマークを付けた後、スパイダーASSYよりハウジングを取り外す。
    ■ 注意 ■
    合いマークはペイント等を使用し、傷を付けないこと。
  • スパイダーASSYを取り外す際は、ハウジングを取り外し、シャフトとスパイダーASSYに合いマークを付ける。
    RAC0028D.JPG
    ■ 注意 ■
    合いマークはペイント等を使用し、傷を付けないこと。
 
 リヤファイナルドライブ側の組み立て
  • ハウジング内部には下記量の日産純正指定グリース(パーツカタログ参照)を充てんする。
    総グリース充てん量
    :40 – 50 g

  • スパイダーASSYは、取り外す際に付けたシャフトの合いマークに合わせ、セレーション部の面取りがシャフト側になるように取り付ける。
    SDIA1727J.JPG
  • ハウジングは、取り外す際に付けたシャフトの合いマークに合わせ、スパイダーASSYに組み付ける。
  • ブーツを図の溝部(※部)へ確実に取り付ける。
    SDIA2648J.JPG
    ■ 注意 ■
    シャフト及びハウジングのブーツ取付溝(※部)にグリースが付着しているとブーツが外れるおそれがあるので、付着したグリースは除去すること。
  • ブーツの変形を防止するため、大径側からマイナスドライバー等を差し込み、ブーツ内のエアを抜きながら、ブーツ取付長さを下記寸法に合わせる。
    ブーツ取付長さ“L”
    :78.6 – 80.6 mm

    ■ 注意 ■
    • ブーツ取付長さが基準値を外れるとブーツ破れの原因となる。
    • ドライバー等の先端がブーツ内面に当たらないようにすること。


  • ブーツの大径側及び小径側を図のようにブーツバンドで固定する。
    PDIA1188J.JPG
  • ハウジング及びシャフトを固定してブーツを回転させたとき、位置ずれが発生しないか確認する。位置ずれが発生した場合、新品のブーツバンドで再度組み付ける。
 
 ホイール側の分解
  • ベアリングリプレーサー(汎用工具)及びプーラー(汎用工具)を用いて、センサーローターをドライブシャフトより取り外す。
    FAC0964D.JPG

  • ドライブシャフトプーラー(汎用工具)をジョイントサブASSYのネジ部に30 mm以上ねじ込み、スライディングハンマー(汎用工具)を用いて、ジョイントサブASSYをシャフトより抜き取る。
    RAC0731D.JPG
    ■ 注意 ■
    • ジョイントサブASSYの抜き取り作業を5回以上行って外れない場合は、ドライブシャフトASSYで交換すること。
    • スライディングハンマーとドライブシャフトを直線上にセットし、強い力で一気に引き抜くこと。

 
 ホイール側の組み立て
  • ハウジング内部には下記量の日産純正指定グリース(パーツカタログ参照)を充てんする。
    総グリース充てん量
    :35 – 45 g

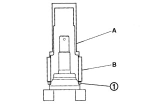
  • センサーローター(1)は、ドリフト(特殊工具)及びカラー(特殊工具)を用いて、ジョイントサブASSYに圧入する。
    PDIA1182J.JPG

    特殊工具
    A: KV38100500

    B: KV40101840


  • ジョイントサブASSYのセレーション穴から日産純正指定グリース(パーツカタログ参照)をボール溝及びセレーション穴からせり上がってくるまで注入する。
    SDIA0878J.JPG
    ■ 注意 ■
    注入後、せり上がってきた古いグリースはペーパーウエスを用いて除去すること。

  • シャフトのセレーション部にテープを巻き、ブーツを損傷させないようにし、ブーツバンド及びブーツをシャフトに取り付ける。
    RAC0032D.JPG

  • シャフト溝部にサークリップを確実に取り付け、ジョイントサブASSYにハブロックナットを仮付けし、プラスチックハンマーを用いてジョイントサブASSYをシャフトに取り付ける。
    RAC0049D.JPG

  • ブーツを図の溝部(※部)へ確実に取り付ける。
    SDIA2648J.JPG
    ■ 注意 ■
    シャフト及びジョイントサブASSYのブーツ取付溝(※部)にグリースが付着しているとブーツが外れるおそれがあるので、付着したグリースは除去すること。
  • ブーツの変形を防止するため、大径側からマイナスドライバー等を差し込み、ブーツ内のエアを抜きながら、ブーツ取付長さを下記寸法に合わせる。
    ブーツ取付長さ“L”
    :66.7 – 68.7 mm

    ■ 注意 ■
    • ブーツ取付長さが基準値を外れるとブーツ破れの原因となる。
    • ドライバー等の先端がブーツ内面にあたらないようにすること。

  • ブーツの大径側及び小径側を図のようにブーツバンドで固定する。
    PDIA1188J.JPG
  • ジョイントサブASSY及びシャフトを固定してブーツを回転させたとき、位置ずれが発生しないか確認する。位置ずれが発生した場合、新品のブーツバンドで再度組み付ける。
 
 分解後の点検
 
 シャフト

シャフト部に振れ、き裂及び損傷等がないか点検し、異常がある場合はシャフトを交換する。
 
 ジョイントサブASSY(ホイール側)

下記の項目を点検し、異常がある場合はジョイントサブASSYを交換すること。
  • ジョイントサブASSYの回転具合、軸方向のガタ
  • ジョイントサブASSY内部の異物混入
  • ジョイントサブASSY内部の圧痕、き裂、欠け
 
 ハウジング及びスパイダーASSY(リヤファイナルドライブ側)

ハウジングのローラー接触面及びスパイダーASSYのローラー面に傷、摩耗等がないか点検し、異常がある場合はハウジングとスパイダーASSYをセットで交換する。
Оцените статью