Снятие и установка (MR18DE: правая сторона)

 
 構成図


PDIA1129J.JPG

1.
コッターピン
2.
ドライブシャフト
3.
プレート
4.
サポートベアリングブラケット




イラスト内のシンボルマークについては、GIセクション部品構成図内で使用している記号一覧を参照する。

 
 付帯作業

 
 取り外し

    1.コッターピンを外し、ハブロックナットレンチ(特殊工具)を用いて、ハブロックナットを緩める。
    PDIA1180J.JPG

    特殊工具
    A: KV40104000


    2.木片を仮付けした状態のハブロックナットにあて、ハンマーで軽打し、ホイールハブ&ベアリングASSYとドライブシャフトを分離する。
    SDIA1821J.JPG
    参考:
    上記方法で分離できない場合は、プーラー(汎用工具)を用いて分離する。
    3.ハブロックナットを取り外す。
    4.ステアリングナックルを移動し、ドライブシャフトをホイールハブ&ベアリングASSYより取り外す。
    ■ 注意 ■
    ドライブシャフトのジョイント部に過大な角度を与えないこと。また、スライドジョイントを過大に伸ばさないこと。
    5.プレート取り付けボルトを外し、ドライブシャフトをトランスアクスルASSYより取り外す。
    ■ 注意 ■
    • ドライブシャフトのジョイント部に過大な角度を与えないこと。また、スライドジョイントを過大に伸ばさないこと。
    • トランスアクスルASSYよりオイルが漏れるおそれがあるので注意すること。

 
 取外後の点検

  • ジョイント部を上下、左右、軸方向に動かし、不円滑な作動、著しいガタないか点検し、異常がある場合はドライブシャフトを分解し、異常部品を交換する。
  • ブーツのき裂、損傷及びグリース漏れがないか点検し、異常がある場合はドライブシャフトを分解し、異常部品を交換する。
    SDIA1190J.JPG
  • サポートベアリングを回転及び左右に動かし、不円滑な作動、著しいガタがないか点検し、異常がある場合はサポートベアリングを交換する。
  • サポートベアリングブラケットにき裂、損傷及び歪みがないか点検し、異常がある場合はサポートベアリングブラケットを交換する。
 
 取り付け

下記の作業に注意し、取り外しの逆の手順で行う。
  • ドライブシャフト挿入時、トランスアクスルのサイドオイルシール損傷防止のため、オイルシール部にプロテクター(特殊工具:KV38106700)を取り付けてから挿入し、ドライブシャフトのスライドジョイントをスライドさせ、ハンマーリングの要領で確実に取り付ける。
    SDIA3238J.JPG
    ■ 注意 ■
    CVT車は、ドライブシャフトを取り付ける際、トランスアクスルのサイドオイルシールを新品にすること。取り外し、取り付けを参照する。

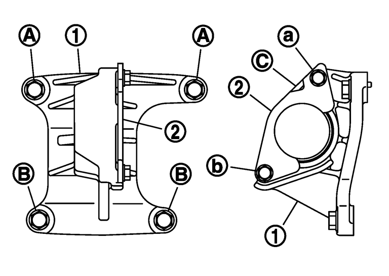
  • サポートベアリングブラケット及びプレートの取り付けの際は、取付ボルトを下記の要領で締め付ける。
    SDIA3224J.JPG
    • サポートベアリングブラケット(1)を取り付ける際は、取付ボルト(A)→(B)の順に仮締め及び本締めを行う。
    • プレート(2)を取り付ける際は、切り欠き(C)が上になるようセットし、取付ボルト(a)→(b)の順に仮締め及び本締めを行う。
Оцените статью