ВИЗАТОР
Японские автомобильные аукционы с акцентом на Nissan NV150 AD VY12
Главная
Новости
FAQ
Аукционы
Руководства по ремонту
Nissan Wingroad Y12: полное руководство по ремонту и обслуживанию на русском языке
Поиск
Вы здесь:
Главная
Руководства по ремонту
Nissan Wingroad Y12: полное руководство по ремонту и обслуживанию на русском языке
Электрооборудование
Аудио-визуальная система
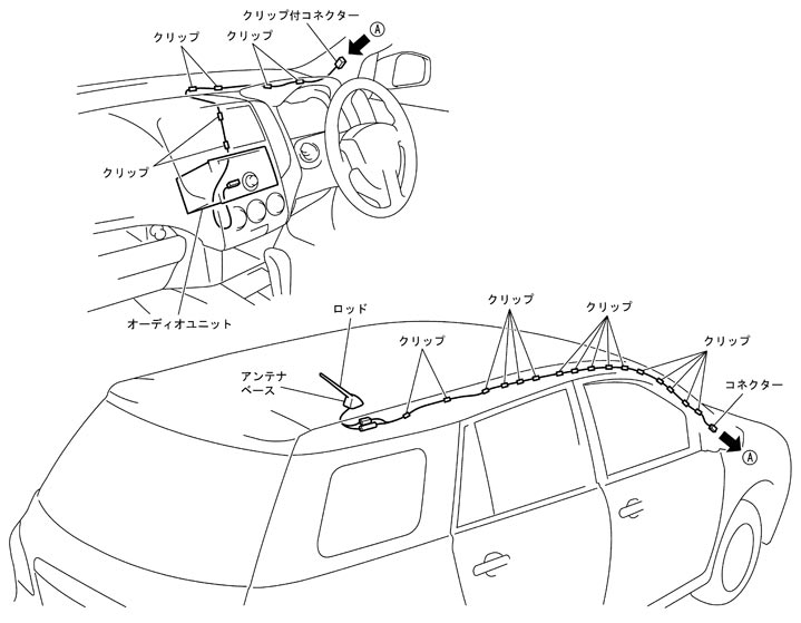
компоненты антенной системы
компоненты антенной системы
антенна
ロッドタイプ
可倒式のルーフアンテナを採用した。
十分な受信性能を得るためラジオアンテナアンプを内蔵した。
ロングタイプ
可倒式ルーフアンテナを採用した。
アンテナフィーダー
ロッドタイプ
ロングタイプ
📄
Открыть схему SKIB7944J.PDF
Предыдущий: Компоненты акустической системы
Назад
Следующий: и т. д. компоненты системы агрегатов
Вперед
Необходимо поставить все оценки
'Поставьте галочку "Я не робот"'
Оцените статью
Отлично
Хорошо
Нормально
Плохо
Ужасно
Ваше имя *
Ваш E-mail *
Текст комментария *
Добавить комментарий
Закрыть