ВИЗАТОР
Японские автомобильные аукционы с акцентом на Nissan NV150 AD VY12
Главная
Новости
FAQ
Аукционы
Руководства по ремонту
Nissan Wingroad Y12: полное руководство по ремонту и обслуживанию на русском языке
Поиск
Вы здесь:
Главная
Руководства по ремонту
Nissan Wingroad Y12: полное руководство по ремонту и обслуживанию на русском языке
Двигатель
Двигатель механическая часть
Снятие и установка заднего сальника
Снятие и установка заднего сальника
Снятие и установка заднего сальника
取り外し
1.トランスアクスルASSYを取り外す。
トランスアクスルASSY
を参照する。
2.ドライブプレートを取り外す。
シリンダーブロック
を参照する。
3.マイナスドライバー等を使用して、リヤオイルシールを取り外す。
■ 注意 ■
取付面、及びクランクシャフトに傷を付けないよう注意すること。
取り付け
1.リヤオイルシールかん合部にエンジンオイルを塗布する。
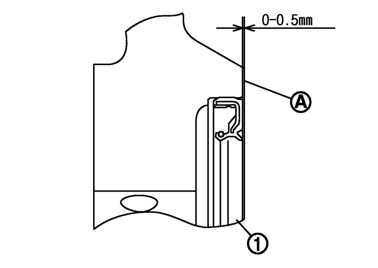
2.以下に注意して、外径約φ115 mm、内径約φ90 mmのドリフト(汎用工具)(A)を使用し、リヤオイルシールを圧入する。
図の寸法になるよう圧入する。
1
: リヤオイルシール
A
: シリンダーブロック後端面
■ 注意 ■
オイルシールリップに塗布されたグリースに触れないこと。
オイルパン(アッパー)とシリンダーブロックのリヤオイルシール取付部、及びクランクシャフトに傷を付けないよう注意すること。
オイルシールのまくれ、傾きがないようまっすぐに圧入すること。
参考:
寸法の基準面はシリンダーブロックの後端面。
3.以下は取り外しと逆の手順で取り付ける。
Предыдущий: Снятие и установка переднего сальника
Назад
Следующий: Бортовой осмотр головки блока цилиндров
Вперед
Необходимо поставить все оценки
'Поставьте галочку "Я не робот"'
Оцените статью
Отлично
Хорошо
Нормально
Плохо
Ужасно
Ваше имя *
Ваш E-mail *
Текст комментария *
Добавить комментарий
Закрыть