Снятие и установка переднего сальника

 
 取り外し

    1.以下の部品を取り外す。
    2.マイナスドライバー等を使用して、フロントオイルシールを取り外す。
    ■ 注意 ■
    フロントカバー、及びクランクシャフトに傷を付けないよう注意すること。
 
 取り付け

    1.フロントオイルシールリップ部にエンジンオイルを塗布する。
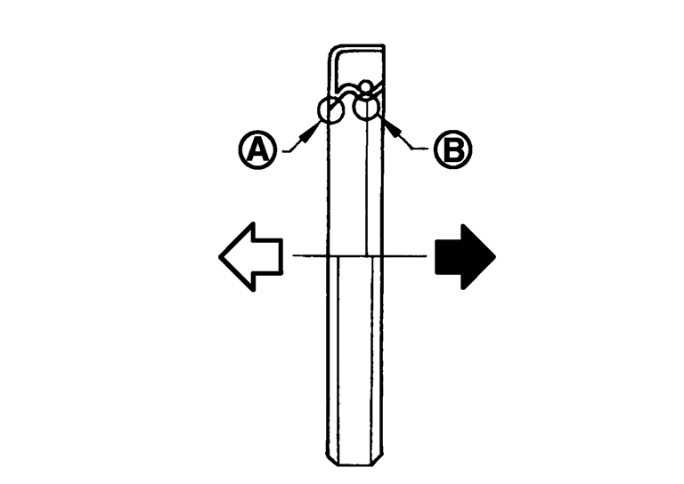
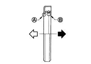
    2.図を参照し、圧入方向を確認する。
    PBIC3485J.JPG

    A
    : ダストシールリップ
    B
    : オイルシールリップ

    : エンジンフロント側

    : クランクスプロケット側


    3.外径約φ57 mm、内径約φ45 mmのドリフト(汎用工具)を使用し、フロントカバー前端面を基準面としてオイルシール前端面が以下の寸法内になるよう圧入する。
    エンジンフロント方向(クランクプーリー側)へ0.3 mm以内
    エンジンリヤ方向(クランクスプロケット側)へ0.5 mm以内

    ■ 注意 ■
    • フロントカバー、及びクランクシャフトに傷を付けないよう注意すること。
    • オイルシールリップに塗布されたグリースに触れないこと。
    • オイルシールのまくれ、傾きがないようまっすぐに圧入すること。

    4.以下は取り外しと逆の手順で取り付ける。
Оцените статью