Снятие и установка

 
 構成図


SCIA6216J.JPG

1.
トランスアクスルASSY
2.
Oリング
3.
リターンスプリング
4.
コントロールバルブASSY
5.
オイルパンガスケット
6.
オイルパン
7.
ドレーンプラグガスケット
8.
ドレーンプラグ
9.
マグネット
10.
オイルパン取付ボルト
11.
スナップリング
12.
Oリング
13.
S/Rアキュームレーターピストン
14.
N-Dアキュームレーターピストン
15.
Oリング
16.
リターンスプリング
17.
リップシール


イラスト内のシンボルマークについては、GIセクション部品構成図内で使用している記号一覧を参照する。
下記シンボルマークについては、指定フルードを使用する。

:ニッサンマチックフルードJ





 
 取り外し

    1.バッテリーマイナス端子を取り外す。バッテリーの取り外し、取り付けを参照する。
    2.左フロントタイヤを取り外す。
    3.アンダーカバー及び左フェンダープロテクターを取り外す。取り外し、取り付けを参照する。
    4.ドレーンプラグを取り外し、A/Tフルードを抜き取る。
    5.オイルパン及びオイルパンガスケットを取り外す。
    6.A/TターミナルASSY中間コネクターを取り外す。
    SCIA6197J.JPG
    7.A/TターミナルASSY中間コネクターよりスナップリングを取り外し、A/TターミナルASSY中間コネクターを指でトランスアクスルケース内に押し込む。
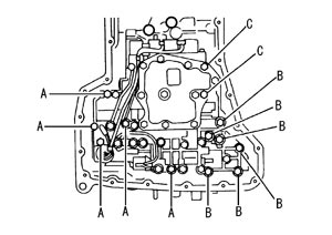
    8.コントロールバルブASSYの取付ボルトを取り外す。
    SCIA5911J.JPG

    ボルト記号
    A
    B
    C
    首下長さ mm
    40.0
    33.0
    43.5
    本数
    5
    6
    2

    9.コントロールバルブASSYをトランスアクスルASSYより取り外す。
    10.マニュアルバルブをコントロールバルブASSYより取り外す。
    SCIA3999J.JPG
    ■ 注意 ■
    マニュアルバルブを落とさないこと。
    11.OリングをA/TターミナルASSY中間コネクターより取り外す。
    12.リターンスプリングをS/Rアキュームレーターピストンより取り外す。
    ATA0049D.JPG

    13.図位置の油穴にエアを吹き込み、S/Rアキュームレーターピストンをトランスアクスルケースより取り外す。
    ATA0052D.JPG
    ■ 注意 ■
    急激にエアを吹き込むとS/Rアキュームレーターピストン及びA/Tフルードが飛び出すため、ペーパーウエスなどで保護しながら少しずつ弱めにエアを吹き込むこと。

    14.図位置の油穴にエアを吹き込み、N-Dアキュームレーターピストン及びリターンスプリングをトランスアクスルケースより取り外す。
    ATA0053D.JPG
    ■ 注意 ■
    • 急激にエアを吹き込むとN-Dアキュームレーターピストン及びA/Tフルードが飛び出すため、ペーパーウエスなどで保護しながら少しずつ弱めにエアを吹き込むこと。
    • リターンスプリングは分解しないこと。


    15.Oリング(1)をS/Rアキュームレーターピストン(2)及びN-Dアキュームレーターピストン(3)より取り外す。
    SCIA6033J.JPG
    ■ 注意 ■
    取り外したS/Rアキュームレーターピストン及びN-Dアキュームレーターピストンはペーパーウエスでくるんでおくこと。

    16.バンドサーボ油路のリップシール(1)を取り外す。
    SCIA5895J.JPG
 
 取り外し後の点検

  • S/Rアキュームレーターピストン(1)
    SCIA6035J.JPG
  • N-Dアキュームレーターピストン(2)
  • 各アキュームレーターピストン及びトランスアクスルケースのしゅう動面の損傷及び打痕を点検し、異常がある場合は交換する。
  • マニュアルバルブ及びバルブボディーのしゅう動面の損傷及び打痕を点検し、異常がある場合は交換する。
  • リターンスプリング(S/Rアキュームレーター)(1)
    SCIA6955E.JPG
  • リターンスプリング(N-Dアキュームレーター)(2)
  • 各リターンスプリングの損傷、変形及びへたりを点検し、異常がある場合は交換する。自由長(L1)及び長さ(L2)はアキュームレーターを参照する。
    ■ 注意 ■
    スプリングリテーナー(3)は取り外さないこと。
 
 取り付け

下記の作業に注意し、取り外しの逆の手順で行う。
■ 注意 ■
  • 各ガスケットは再使用不可部品のため、再使用しないこと。「構成図」を参照する。
  • 各Oリング及びリップシールは再使用不可部品のため、再使用しないこと。「構成図」を参照する。
  • 各Oリング及びリップシールを取り付ける際は、ニッサンマチックフルードJを塗布すること。「構成図」を参照する。
  • オイルパン取付ボルトを取り付ける際は、必ず新品のボルトを使用すること。「構成図」を参照する。
  • オイルパンガスケット取付面に水分、油及び古いガスケット等の付着がないよう完全に除去すること。

  • 作業終了後は、A/Tフルードの漏れ及び量を点検する。点検を参照する。
Оцените статью