ВИЗАТОР
Японские автомобильные аукционы с акцентом на Nissan NV150 AD VY12
Главная
Новости
FAQ
Аукционы
Руководства по ремонту
Nissan Wingroad Y12: полное руководство по ремонту и обслуживанию на русском языке
Поиск
Вы здесь:
Главная
Руководства по ремонту
Nissan Wingroad Y12: полное руководство по ремонту и обслуживанию на русском языке
Привод и мосты
Задний мост и приводные валы
Специальные предметы для подготовки инструмента
Специальные предметы для подготовки инструмента
специальные инструменты
名称
用途
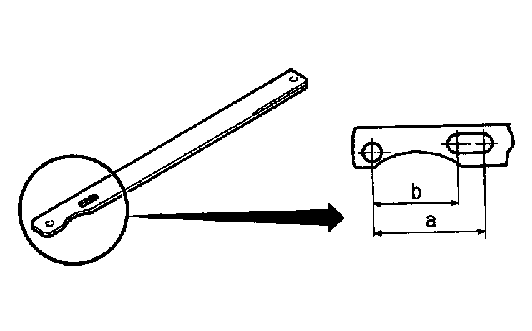
ハブロックナットレンチ
KV40104000
a: 85 mm
b: 66 mm
ハブロックナット取り外し、取り付け
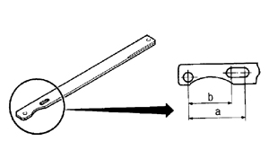
プロテクター
KV38107800
a:φ29 mm
ドライブシャフト取り付け
ドリフト
KV38100500
a:φ80 mm
b:φ60 mm
センサーローター取り付け
カラー
KV40101840
a:φ67 mm
b:φ85 mm
センサーローター取り付け
Предыдущий: Меры предосторожности относительно приводных валов
Назад
Следующий: Проверка и обслуживание ступиц колес в автомобиле
Вперед
Необходимо поставить все оценки
'Поставьте галочку "Я не робот"'
Оцените статью
Отлично
Хорошо
Нормально
Плохо
Ужасно
Ваше имя *
Ваш E-mail *
Текст комментария *
Добавить комментарий
Закрыть