Снятие и установка



PIIB7478J.JPG

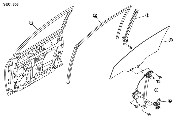
1.
ドアパネル
2.
ロアサッシュ
3.
ドアグラスラン
4.
ドアガラス
5.
レギュレーターASSY
6.
パワーウインドーモーター

 
 ドアガラス
 
 取り外し

    1.ドアフィニッシャー(フロント)を取り外す。「EI 外装・内装」のドアトリムを参照。
    2.ドアミラーのハーネスコネクターと、フロントスピーカーのハーネスコネクターを外し、シーリングスクリーンを取り外す。
    参考:
    シーリングスクリーンを再使用する場合、シーリングスクリーン側にブチルテープが残るようにブチルテープをカッターで切断する。
    3.ロアサッシュ取付ボルトを外し、下端部をドアパネル前方に移動させ、上端部の差込みをドアパネルから引き抜いてロアサッシュ(リヤ)を取り外す。
    PIIB7581J.JPG


    : ボルト


    4.ドアガラスを支えながらパワーウインドースイッチを操作してガラス取付ボルトが見える位置までドアガラスを昇降させる。
    PIIB7582J.JPG
    参考:
    ハーネスコネクターをパワーウインドースイッチに接続する。
    5.ドアガラス取付ボルトを外す。

    : ボルト


    6.ドアガラスを持ち、後端より上に持ち上げながらサッシュ部よりガラスを抜き、ドア上側にガラスを引き出す。
    SIIA1779J.JPG

    7.フロントスピーカーを取り外す。
    8.ドアグラスランをドアパネルから引き抜いて取り外す。
 
 取り付け

取り付けは、取り外しの逆の手順で行う。
 
 レギュレーターASSY
 
 取り外し

    1.ドアフィニッシャー(フロント)を取り外す。「EI 外装・内装」のドアトリムを参照。
    2.ドアミラーのハーネスコネクターと、フロントスピーカーのハーネスコネクターを外し、シーリングスクリーンを取り外す。
    参考:
    シーリングスクリーンを再使用する場合、シーリングスクリーン側にブチルテープが残るようにブチルテープをカッターで切断する。
    3.パワーウインドースイッチを操作してガラス取付ボルトが見える位置までドアガラスを昇降させる。
    PIIB7582J.JPG
    参考:
    ハーネスコネクターをパワーウインドースイッチに接続する。
    4.ドアガラス取付ボルトを外す。

    : ボルト


    5.ドアガラスを持ち上げ、サクションリフター等(A)で保持する。
    PIIB5545J.JPG

    6.パワーウインドーモーターのハーネスコネクターを外し、図中矢印の取付ボルトを外してレギュレーターASSYをドアパネルから取り外す。
    PIIB7583J.JPG


    : ボルト

 
 取り付け

取り付けは、取り外しの逆の手順で行う。
 
 取り外し後の点検

レギュレーターASSYは下記項目を点検し、異常があれば、交換又は給油する。

PIIB7919J.JPG
  • ワイヤの摩耗状態
  • レギュレーターASSYの変形
  • 各しゅう動部の給油状態
図の矢印はドアレギュレーターグリース(KRL00 00050)相当品の塗布箇所を示す。
Оцените статью