Снятие и установка управления замком капота



PIIB7943J.JPG

1.
フードロックケーブル
2.
フードロック
3.
ラジエーターコアサポートアッパーセンター
4.
クリップ
5.
フードレッジレインフォース
6.
ウォッシャーチューブ
7.
ラジエーターコアサポートサイド(右)





 
 取り外し
 
 フードロック

    1.フロントグリルを取り外す。「EI 外装·内装」のフロントグリルを参照。
    2.フードロック取付ボルト3本を取り外す。
    PIIB7619J.JPG

    締付トルク
    :23.6 N·m(2.4 kg–m)


    3.フードロックからフードロックケーブルを取り外す。
    PIIB7944J.JPG
 
 フードロックサポートステー

    1.フロントバンパーフェーシアを取り外す。「EI外装·内装」のフロントバンパーを参照。
    2.SRSエアバッグのクラッシュゾーンセンサーを取り外す。「SRS SRSエアバッグ」の取り外し、取り付けを参照。
    3.取付ボルト3本を外し、フードロックサポートステーを取り外す。
    PIIB7930J.JPG

    締付トルク
    :23.6 N··m(2.4 kg–m) (1)

    : 22.0 N·m(2.0 kg–m) (2)


 
 フードロックケーブル

    1.フロントグリル左右を取り外す。「EI外装·内装」のフロントグリルを参照。
    2.フェンダープロテクター(右)を取り外す。「EI外装·内装」のフェンダープロテクターを参照。
    3.フードロックを取り外し、フードロックからフードロックケーブルを外す。
    4.ラジコアサポートアッパー部及びフードレッジ部のクリップを外し、フードロックケーブルを外す。
    5.インストルメントパネル右下部のフードオープナーを外し、フードロックケーブルを取り外す。
    PIIB2534J.JPG
    6.ダッシュロア部のグロメットを外し、フードロックケーブルを室外側に抜く。
    ■ 注意 ■
    引き抜くとき、車体穴でフードロックケーブルアウターに傷(皮ムケ)などを付けないよう注意して行うこと。
 
 取り付け

取り付けは下記に注意し、取り外しの逆の手順で行う。
■ 注意 ■
取り付け後はフードの建付調整を行うこと。建付調整を参照。
 
 フードロックサポートステー
  • フードロックサポートステー取り付けの際は、フードロック取付ボルトも緩め、図中の番号順に取付ボルトを締め付ける。
    PIIB7931J.JPG

    締付トルク
    :22.0 N·m(2.0 kg–m)(1)(2)

    :23.6 N·m(2.4 kg–m)(3)(4)(5)

 
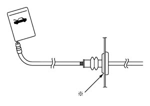
 フードロックケーブル
    1.フードロックケーブルは極力曲げR(R100 mm以上)を大きくして引き込む。
    PIIB2909J.JPG
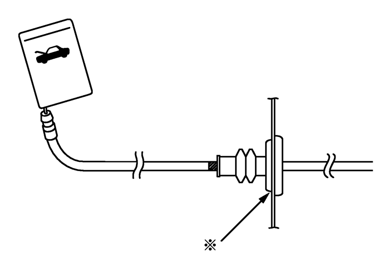
    2.位置決めグロメットからずれていないか確認した後、グロメットをパネル穴に確実にはめ込む。
    3.ダッシュロア部のグロメット※印部にシーリング剤(ポスシール)を確実に塗布する。

    4.ケーブルをロックに確実に取り付ける。
    PIIB2533J.JPG
    5.取付後、フードロック調整及びフードオープナーの操作性を確認する。
Оцените статью