ВИЗАТОР
Японские автомобильные аукционы с акцентом на Nissan NV150 AD VY12
Главная
Новости
FAQ
Аукционы
Руководства по ремонту
Nissan Wingroad Y12: полное руководство по ремонту и обслуживанию на русском языке
Поиск
Вы здесь:
Главная
Руководства по ремонту
Nissan Wingroad Y12: полное руководство по ремонту и обслуживанию на русском языке
Электрооборудование
Информационная система водителя
Снятие, установка, снятие и установка комбинированных счетчиков
Снятие, установка, снятие и установка комбинированных счетчиков
Снятие и установка комбинации приборов
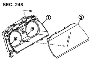
取り外し
1.クラスターリッドAを外す。「IPインストルメントパネル」の
インストルメント ASSY
を参照。
2.スクリュー(1)、及びクリップ(2)2箇所を外し、コンビネーションメーターを取り外す。
取り付け
取り付けは、取り外しの逆の手順で行う。
分解、組み立て
構成図
1:
メーターC/U ASSY
2:
フロントカバー
Предыдущий: Проверка компонентов и диагностика неисправностей
Назад
Следующий: Обзор функциональной системы
Вперед
Необходимо поставить все оценки
'Поставьте галочку "Я не робот"'
Оцените статью
Отлично
Хорошо
Нормально
Плохо
Ужасно
Ваше имя *
Ваш E-mail *
Текст комментария *
Добавить комментарий
Закрыть