Снятие и установка


■ 注意 ■
  • 排気系部品は材料的に耐熱、耐腐食性、また形状的にも十分配慮してあるので、必ず純正部品を使用すること。
  • エンジン停止直後はエキゾーストシステムが熱くなっているので、作業は十分に冷えた状態で行うこと。
  • 遮熱板のエッジで手を切らないよう十分注意すること。
  • 構成部品の脱着にエアツール、及び電動ツール等は使用しないこと。


 
 取り外し

  • 各接続部を分割して取り外す。
  • エキゾーストフロントチューブは上下反転させた状態で車体〜フロントサスペンションメンバー間から抜き出す。
    ■ 注意 ■
    触媒コンバーターを内蔵しているので衝撃を与えないよう取り扱うこと。
    参考:
    O2センサ2を取り外さない状態でエキゾーストフロントチューブの脱着は可能。(ハーネスコネクターの分離は要する)
  • O2センサ2はO2センサー脱着用レンチ[特殊工具: KV10114400]を使用して脱着する。
    ■ 注意 ■
    O2センサ2に衝撃を与えないよう取り扱うこと。
 
 取り付け

  • 各接続部のシール面はガスケット等の付着物をきれいに除去し、その後ガス漏れのないよう確実に接続する。
  • 排気管ASSYの取り付けは、エキゾーストシステム全体の取付ボルト、及び取付ナットの仮締めを行い、各部に異常な突っ張りなどがないことを確認し、規定のトルクで締め付ける。
  • 各マウントラバーのねじれ、上下左右の引っ張りに注意して取り付ける。
  • メインマフラー前方側とその他のマウントラバーは厚さが異なるのでメインマフラーの前方側に薄いマウントラバーを取り付ける。 (e·4WD)
  • シールベアリング部は以下の要領で取り付ける。
 
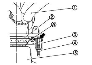
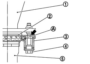
 エキゾーストマニホールドとエキゾーストフロントチューブ間

    1.図の方向でシールベアリング(2)をエキゾーストマニホールド(1)側に確実に挿入する。
    JPBIA0978ZZ.JPG

    5
    :エキゾーストフロントチューブ

    ■ 注意 ■
    挿入時にシールベアリング表面に傷等を付けないように注意すること。
    2.スプリング(3)を組み込み、取付ナット(4)を締め付ける。
    • スプリングはテーパー形状ではない。(取付方向は任意)
    • 取付ナットはスタッドボルトがフランジ部と干渉しないよう締め付ける。(図の矢印部)
    ■ 注意 ■
    • スプリングは(A)部に干渉しないようフランジ部に確実に着座させること。
    • 取付ナットは、左側から締め付けること。

 
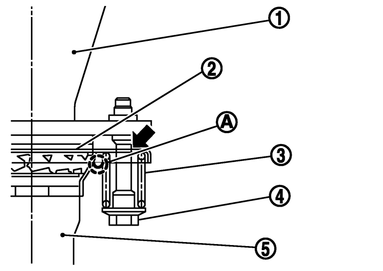
 エキゾーストフロントチューブとセンターマフラー間

    1.図の方向でシールベアリング(2)をエキゾーストフロントチューブ(1)側に確実に挿入する。
    JPBIA2174ZZ.JPG

    5
    :センターマフラー

    ■ 注意 ■
    挿入時にシールベアリング表面に傷等を付けないように注意すること。
    2.スプリング(3)を組み込み、取付ボルト(4)を締め付ける。
    • スプリングはテーパー形状ではない。(取付方向は任意)
    • 取付ボルトはフランジ部と干渉しないよう締め付ける。(図の矢印部)
    ■ 注意 ■
    スプリングは(A)部に干渉しないようフランジ部に確実に着座させること。
Оцените статью