ВИЗАТОР
Японские автомобильные аукционы с акцентом на Nissan NV150 AD VY12
Главная
Новости
FAQ
Аукционы
Руководства по ремонту
Nissan Wingroad Y12: полное руководство по ремонту и обслуживанию на русском языке
Поиск
Вы здесь:
Главная
Руководства по ремонту
Nissan Wingroad Y12: полное руководство по ремонту и обслуживанию на русском языке
Двигатель
Система управления двигателем
Проверка компонентов dtc p1652 система управления реле 2 стартера
Проверка компонентов dtc p1652 система управления реле 2 стартера
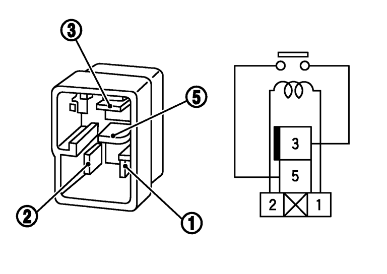
Проверка компонентов
スタータモータリレー2
1.12V 電圧をスタータモータリレー2の1 番端子と2 番端子間に加える。
2.スタータモータリレー2の3 番端子と5 番端子の導通を点検する。
状態
導通
12V電圧を1番端子と2番端子間に加えたとき
あり
電圧を加えないとき
なし
Предыдущий: Процедура диагностики неисправности dtc p1652 система управления реле 2 стартера
Назад
Следующий: Обзор dtc p1715 Входной сигнал вращения шкива (датчик вращения первичного шкива)
Вперед
Необходимо поставить все оценки
'Поставьте галочку "Я не робот"'
Оцените статью
Отлично
Хорошо
Нормально
Плохо
Ужасно
Ваше имя *
Ваш E-mail *
Текст комментария *
Добавить комментарий
Закрыть