Процедуры проверки и обучения

 
 アイドル回転数
 
 CONSULT-IIIを使用する場合

CONSULT-IIIの“データモニタ”モードで、アイドル回転数を点検する。
 
 CONSULT-IIIを使用しない場合

図のように、ループワイヤ(1)に誘導型(電流検出型)エンジン回転計(2)を取り付けて、アイドル回転数を点検する。

PBID0301J.JPG
  • :車両前方
 
 点火時期

    1.図のように、ループワイヤ(1)にタイミングライト(A)を取り付ける。
    PBID0302J.JPG
    • :車両前方

    2.点火時期を点検する。
    PBIA9926J.JPG
 
 ECM交換後の手順
 
 ECMを交換した時、以下の学習を実施しなければならない。

  1. 「アクセルペダル全閉位置学習」を実行する。
  2. 「スロットル全閉位置学習」を実行する。
  3. 「アイドル吸入空気量学習」を実行する。
  4. 「Gセンサキャリブレーション」を実行する。 (CONSULT-IIIの機能を参照する。)
 
 アクセルペダル全閉位置学習
 
 概要

「アクセルペダル全閉位置学習」とは、アクセルペダルポジションセンサの出力信号をモニタすることによってアクセルペダルの全閉位置を学習させる作業である。これは、アクセルペダルポジションセンサまたはECMハーネスコネクタを外すたびに実施しなければならない。
 
 作業手順

  1. アクセルペダルが全閉位置であることを確認する。
  2. キースイッチをONにして、2秒間以上待つ。
  3. キースイッチをOFFにして、10秒間以上待つ。
  4. ステップ2と3を3回繰り返す。
 
 スロットル全閉位置学習
 
 概要

「スロットル全閉位置学習」とは、スロットルポジションセンサの出力信号をモニタすることによってスロットルの全閉位置を学習させる作業である。これは、電子制御スロットルまたはECMハーネスコネクタを外すたびに実施しなければならない。
 
 作業手順

  1. アクセルペダルが全閉位置であることを確認する。
  2. キースイッチをONにする。
  3. キースイッチをOFFにして、10秒間以上待つ。この間にスロットルが自動的に動くかどうか、作動音を聴いて確認する。
 
 アイドル吸入空気量学習
 
 概要

「アイドル吸入空気量学習」とは、安定したアイドル回転を得るため、アイドル時の吸入空気量を学習させる作業である。以下の条件のとき、学習を実施しなければならない:
  • 電子制御スロットルまたはECMを交換した時
  • アイドル回転数または点火時期が基準値外である時
 
 作業前の準備

「アイドル吸入空気量学習」を実施する前には、以下の条件をすべて満たしていることを確認すること。
以下の条件のいずれかが少しでも外れると、学習を中止する。
  • バッテリ電圧:12.9V以上(アイドリング時)
  • 水温:70 - 95°C
  • 吸気温:60°C以下
  • セレクトレバー:P又はN
  • 電気負荷スイッチ:OFF(エアコン、ヘッドランプ、リヤウインドウデフォッガ)
  • ステアリングホイール:ニュートラル(直進状態)
  • 車速:0km/h
  • トランスミッション:CVTフルード60°C以上(エンジン暖機後、約10分間走行する。)
 
 作業手順

CONSULT-IIIを使用する場合
  1. 「アクセルペダル全閉位置学習」を実施する。
  2. 「スロットル全閉位置学習」を実施する。
  3. エンジンを始動して、冷却水温が適温になるまで暖機する。
  4. 「作業前の準備」に挙げている全項目を満たしていることを確認する。
  5. “作業サポート”モードで“吸入空気量学習”を選択する。
  6. “開始”を押して、約20秒間待つ。
  7. CONSULT-IIIの画面に“完了”が表示されていることを確認する。“完了”が表示されない場合は、「アイドル吸入空気量学習」が完了していない。この場合には、「診断手順」を参照して問題の原因を究明すること。
  8. エンジンを2、3回空吹かしさせて、アイドル回転数と点火時期が基準値内にあることを確認する。(「アイドル回転数」および「点火時期」を参照。)
    アイドル回転数
    :700±50rpm(PまたはNポジション)
    点火時期
    :6±5°BTDC(PまたはNポジション)

CONSULT-IIIを使用しない場合
参考:
  • 時計を使って時間を正確にカウントすること。
  • アクセルペダルポジションセンサの回路が故障している場合は、診断モードを切り換えることができない。

  1. 「アクセルペダル全閉位置学習」を実施する。
  2. 「スロットル全閉位置学習」を実施する。
  3. エンジンを始動して、冷却水温が適温になるまで暖機する。
  4. 「作業前の準備」に挙げている全項目を満たしていることを確認する。
  5. キースイッチをOFFにして、10秒間以上待つ。
  6. アクセルペダルが全閉位置であることを確認し、キースイッチをONにして3秒間待つ。
  7. アクセルペダル全開、全閉を、5秒以内に素早く5回くり返す。
  8. 7秒間待ってからアクセルペダルを完全に踏み込み、MILが点滅を止めて点灯するまで約20秒間その状態を保持する。
  9. MILが点灯してから3秒以内に、アクセルペダルを全閉する。
  10. エンジンを始動して、アイドル回転させる。
  11. 約20秒間待つ。
    PBIA3901J.JPG
  12. エンジンを2、3回空吹かしさせて、アイドル回転数と点火時期が基準値内にあることを確認する。(「アイドル回転数」および「点火時期」を参照。)
    アイドル回転数
    :700±50rpm(PまたはNポジション)
    点火時期
    :6±5°BTDC(PまたはNポジション)

  13. アイドル回転数と点火時期が基準値外である場合は、「アイドル吸入空気量学習」が完了していない。この場合には、「診断手順」を参照して問題の原因を究明すること。
 
 診断手順

アイドル吸入空気量学習が完了しない場合は、次のように作業を進めること。
  1. スロットルが完全に閉じていることを確認する。
  2. PCVバルブが固着していないことを確認する。
  3. スロットルの下流にエア漏れがないことを確認する。
  4. 上記の3項目がOKであることを確認できた場合は、部品の取り付け状態に問題がないか確認する。CONSULT-IIIがある場合は、概要を実施することが有効である。
  5. エンジン始動後に以下の状態が発生する場合は、問題の原因を除去して「アイドル吸入空気量学習」をもう一度やり直すこと:
    • エンスト
    • アイドル不調
 
 CO、HCの点検
 
 概要

学習機能付きの空燃比フィードバックシステムを採用し、補正範囲が広いため、CO、HC濃度の調整は不要である。
 
 点検手順

    1.エンジンを十分に暖機し、アイドル回転数及び点火時期がアイドル時の基準値であることを確認する。
    2.その後さらに、エンジン回転数を2500 - 3000rpmで2分間暖機する。
    3.アイドル回転に戻し無負荷状態で、CO、HC濃度をメータで点検する。
    CO濃度(規制値)
    :1.0%
    HC濃度(規制値)
    :300ppm

 
 燃圧点検
 
 燃圧除去


CONSULT-IIIを使用する場合
  1. キースイッチをONにする。
  2. CONSULT-IIIの“作業サポート”モードで、“燃圧除去”を実施する。
  3. エンジンを始動する。
  4. エンスト後も、2、3回クランキングしてすべての燃圧を除去する。
  5. キースイッチをOFFにする。

CONSULT-IIIを使用しない場合
  1. IPDM E/Rにあるフューエルポンプのヒューズ15A(1)を取り外す。
    JMBIA1347ZZ.JPG
  2. エンジンを始動する。
  3. エンスト後も、2、3回クランキングしてすべての燃圧を除去する。
  4. キースイッチをOFFにする。
  5. 燃料システムを点検整備した後、フューエルポンプのヒューズを再度取り付ける。
 
 燃圧点検

フューエルラインを取り外す前に必ず燃圧を除去すること。
■ 注意 ■
  • 換気がよく、火気のない場所で、以下の作業を行うこと。
  • 取り外したフューエルホースやチューブから燃料がこぼれ出す可能性があるので、その下に受皿を準備すること。この車両にはフューエルリターンシステムがないために、燃圧を完全に除去することはできない。

参考:
燃圧計(特殊工具)を使って、燃圧を点検する。
    1.燃圧を除去する。「燃圧除去」を参照。
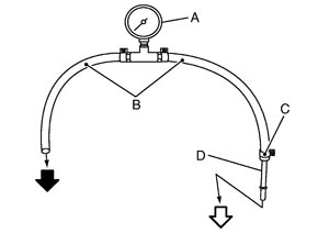
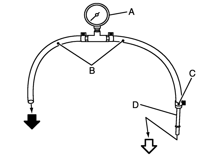
    2.燃圧測定用のフューエルホース(B)を準備し、燃圧計[特殊工具:ST19590000](A)を取り付ける。
    PBIB2982E.JPG
    3.燃圧測定用フューエルホース(B)とフューエルチューブアダプタ[特殊工具:VK10118400](D)をホースクランプ(C)で取り付ける。・:クイックコネクタへ(タンク側)・:フューエルチューブへ(エンジン側)
    ■ 注意 ■
    • 燃圧測定用のフューエルホースは汎用品(純正品)を使用すること。
    • 燃圧測定用のフューエルホースは、ホースに突っ張りなど無理な力がかからないよう、長めのものを使用すること。
    • ホース挿入部のオイルやごみ等をガソリンに含ませたウエスで除去すること。
    • ホース挿入部分にガソリンを適量塗布すること。
    • ホースクランプは純正品(部品番号:16439 N4710 または16439 40U00)を使用すること。
    • ホースクランプはホース端面1 - 2mm 以内に取り付け、規定トルクで締め付けること。


    ホースクランプ締付トルク: 1 - 1.5N・m (0.1 - 0.15kg−m)


    4.フューエルホースのクイックコネクタ部からフューエルフィードホース(タンク側)とフューエルチューブ(エンジン側)を取り外す。構成図を参照。
    5.フューエルチューブ(エンジン側)に、燃圧測定用フューエルホースをホースクランプで取り付ける。
    PBIA0316J.JPG
    ■ 注意 ■
    • ホース挿入部のオイルやごみ等をガソリンを含ませたウエスで除去すること。
    • ホース挿入部分にガソリンを適量塗布すること。
    • 燃圧測定用フューエルホースはフューエルチューブの一段目スプールに突き当たるまで差し込むこと。
    • ホースクランプは純正品(部品番号:16439 N4710または16439 40U00)を使用すること。
    • ホースクランプはホース端面1 - 2mm以内に取り付け、規定トルクで締め付けること。

      ホースクランプ締付トルク:
      1 - 1.5N・m (0.1 - 0.15kg−m)


    6.燃圧測定用フューエルホースのフューエルチューブアダプタをクイックコネクタへ接続する。
    PBIA9944J.JPG
    7.燃圧測定用フューエルホースを取付後、ホースを約100N(約10kg)で引っ張り、ホースがフューエルチューブから抜けないことを確認する。
    8.キースイッチをONにして、燃料漏れがないか点検する。
    9.エンジンを始動して、燃料漏れがないか点検する。
    10.燃圧計の値を読み取る。
    アイドリング時
    :約350kPa(3.57kg/cm2

    11.燃圧に異常がある場合は、次のステップに進む。
    12.以下を点検する。
    • フューエルホースとフューエルチューブの詰まり
    • フューエルフィルタの詰まり
    • フューエルポンプ
    OKの場合は、プレッシャレギュレータを交換する。NGの場合は、修理または交換する。
Оцените статью