дроссельная заслонка с электронным управлением

 
 概要

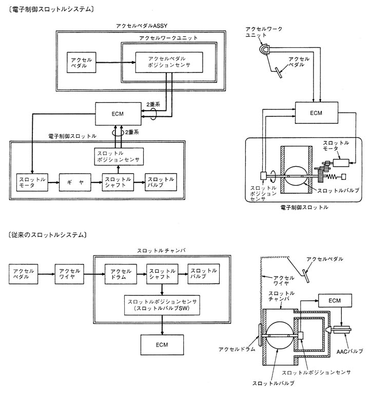
電子制御スロットルは従来のスロットルチャンバに相当するもので、ECM(エンジンコントロールモジュール)からの制御信号でスロットルモータを駆動し、その時々の運転状態に応じたスロットル開度に制御します。
 
 システム及び作動

EC-1605J.JPG
  • アクセルペダルASSYはアクセルペダルとドライバのアクセル踏み込み量を検出するアクセルペダルポジションセンサで構成されています。電子制御スロットルはスロットルバルブ及びこれを駆動するスロットルモータ、ギヤ機構及びスロットル開度を検出するスロットルポジションセンサで構成されています。
  • アクセルペダルポジションセンサ及びスロットルポジションセンサ信号を2重系統としています。
  • アイドル回転数制御のため、従来AACバルブやFICDソレノイドで制御していたアイドル吸入空気量は全て電子制御スロットルで行います。
  • 万一、スロットルモータ、モータ駆動系、アクセルペダルポジションセンサ又はスロットルポジションセンサ系統に異常が発生した場合は、スロットルバルブを機械的に低速走行可能な位置へ戻します。
  • 電子制御スロットル又はECMのコネクタを外した場合は修復後、スロットル全閉位置学習を行う必要があります。また、電子制御スロットル又はECMを交換した場合にはスロットル全閉位置学習、アイドル吸入空気量学習を行う必要があります。学習方法(操作要領)は整備要領書EC編 「スロットル全閉位置学習及びアイドル吸入空気量学習」の項を参照ください。
  • アクセルペダルASSYを交換した場合、アクセルペダルポジションセンサのコネクタを外した場合及びECMを交換した場合は修復後、アクセルペダル全閉位置学習を行う必要があります。学習方法(操作要領)は整備要領書EC編 「アクセルペダル全閉位置学習」の項を参照ください。
 
 ロックアップ中制御

ロックアップ走行中、再加速時のショック低減のためアクセルOFFからON時、スロットル開度を最適に制御します。

EC-1058Q.JPG
 
 高車速制限制御

従来のフューエルカットに変わり、電子制御スロットルの開度を制限して車速180km/h以下に制御します。
 
 電子制御スロットル外観
Оцените статью