Снятие и установка

 
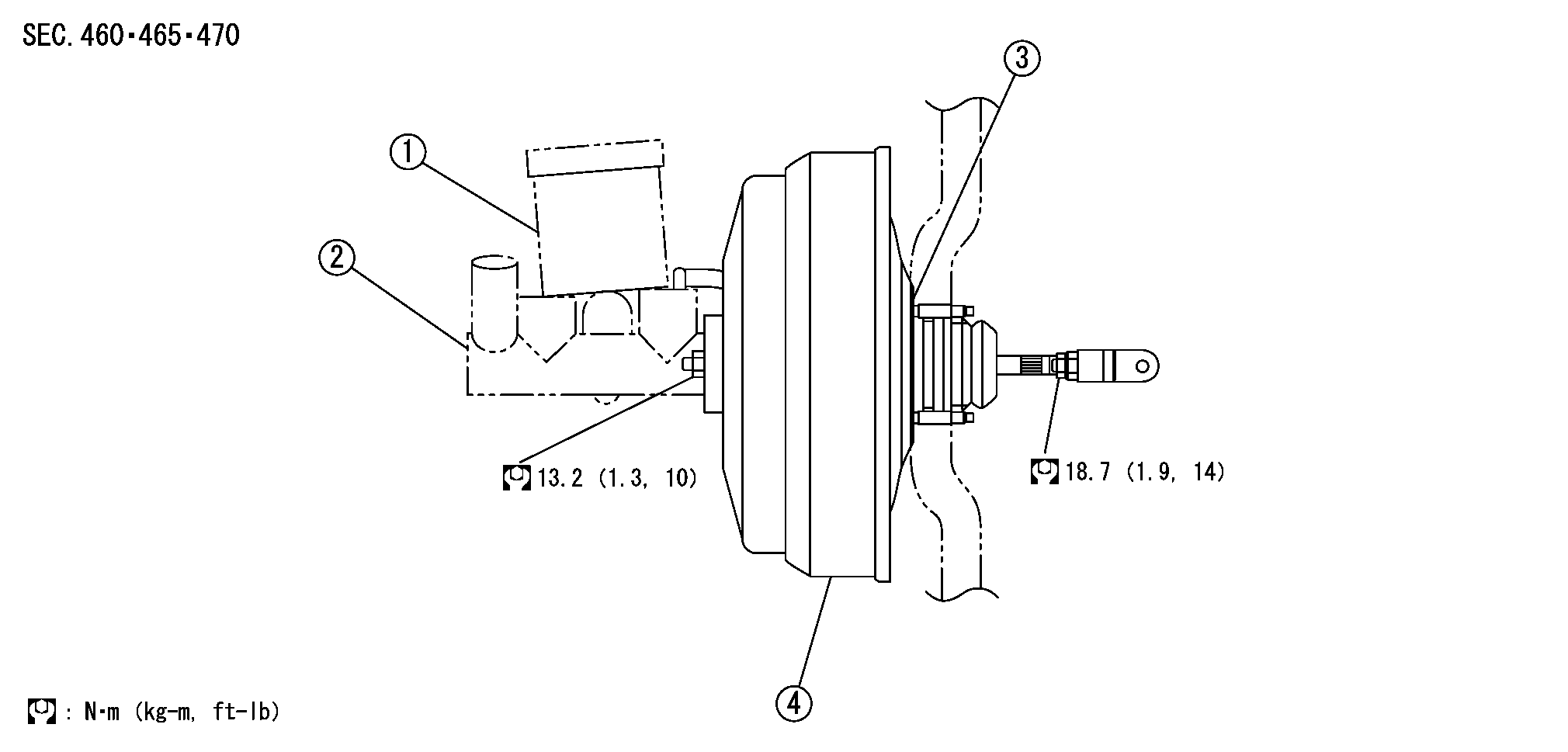
 構成図


SFIA2638J.JPG

1.
リザーバータンク
2.
ブレ−キマスターシリンダー
3.
ガスケット
4.
ブレーキブースター





 
 付帯作業

 
 ポイント

取り外し、取り付けは、下記の作業に注意して行う。
■ 注意 ■
  • ブレーキブースターの脱着作業中は、ブレーキ配管を変形させたり曲げたりしないこと。
  • ブレーキブースターのスタッドボルトのネジ山をつぶさないこと。斜めに取り付けるとダッシュパネルでネジ山を損傷させるおそれがある。

  • 取付時、インプットロッドの長さ(B寸法)が基準値になるように、ロックナットを緩めて調整する。
    BRA0481D.JPG

    基準値

    B寸法:
    127 mm

  • ブレーキブースターと車両の間にガスケットを必ず取り付ける。
  • 取付後、ブレーキペダルの調整及びブレーキ配管のエア抜きを行う。調整及びエア抜きを参照する。
 
 取外後の点検
 
 アウトプットロッド長さの点検

    1.ハンディバキュ−ムポンプ(汎用工具)を用いて、ブレーキブースター内の負圧を−66.7 kPa(−500 mmHg) にする。
    SFIA2036J.JPG
    2.アウトプットロッドゲージ(特殊工具)をマスターシリンダーにセットし、ゲージ先端がプライマリーピストンに接するまでスクリューを回す。
    3.アウトプットロッドゲージ(特殊工具)を逆にし、アウトプットロッドとスクリューのすき間がなくなるよう、A部を固定しB部で調整する。
    参考値

    −66.7 kPa(−500 mmHg)時のL寸法:
    10.4 mm

 
 気密点検

ハンディバキュ−ムポンプ(汎用工具)を用いて点検する。

–66.7 kPa(–500 mmHg)時:
真空度の低下幅が15秒間で3.3kPa(25 mmHg)以内

Оцените статью