ВИЗАТОР
Японские автомобильные аукционы с акцентом на Nissan NV150 AD VY12
Главная
Новости
FAQ
Аукционы
Руководства по ремонту
Nissan Wingroad Y12: полное руководство по ремонту и обслуживанию на русском языке
Поиск
Вы здесь:
Главная
Руководства по ремонту
Nissan Wingroad Y12: полное руководство по ремонту и обслуживанию на русском языке
Кондиционирование
Ручной кондиционер
Снятие и установка бака для жидкости Цикл охлаждения
Снятие и установка бака для жидкости Цикл охлаждения
Снятие и установка бака для жидкости
取り外し
1.コンデンサーを取り外す。
コンデンサーの取り外し、取り付け
を参照。
2.リキッドタンク周辺を清掃し、ゴミや錆を落とす。
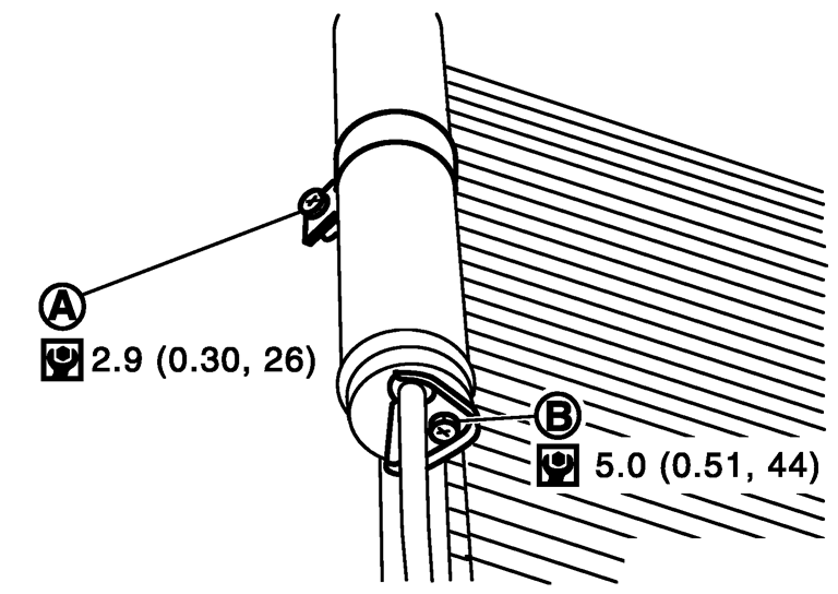
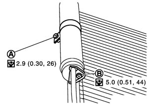
3.リキッドタンク取付ボルト(A)及び(B)を外す。
:N·m (kg‐m, in‐lb)
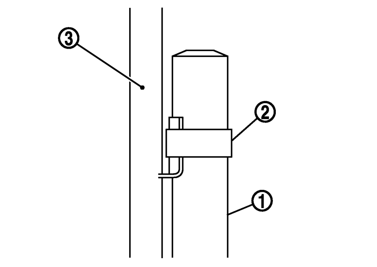
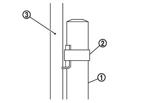
4.リキッドタンクブラケット(1)を上方へ上げ、コンデンサー(2)の突起部から外す。
5.リキッドタンク(3)を上方へ上げ、取り外す。
■ 注意 ■
配管の接続口をキャップ又はビニールテープなどで大気から遮断すること。
取り付け
リキッドタンク(1)を取り付け、リキッドタンクブラケット(2)をコンデンサー(3)に取り付ける。
■ 注意 ■
リキッドタンクブラケットがコンデンサーの突起部に確実に入っていること。
リキッドタンクブラケットがリキッドタンク中央より下に動かないこと。
コンデンサーパイプのOリングは新品に交換し、取付時にコンプレッサーオイルを塗布すること。
Предыдущий: Снятие и установка конденсатора Цикл охлаждения
Назад
Следующий: Снятие и установка испарителя Цикл охлаждения
Вперед
Необходимо поставить все оценки
'Поставьте галочку "Я не робот"'
Оцените статью
Отлично
Хорошо
Нормально
Плохо
Ужасно
Ваше имя *
Ваш E-mail *
Текст комментария *
Добавить комментарий
Закрыть