ВИЗАТОР
Японские автомобильные аукционы с акцентом на Nissan NV150 AD VY12
Главная
Новости
FAQ
Аукционы
Руководства по ремонту
Nissan Wingroad Y12: полное руководство по ремонту и обслуживанию на русском языке
Поиск
Вы здесь:
Главная
Руководства по ремонту
Nissan Wingroad Y12: полное руководство по ремонту и обслуживанию на русском языке
Кондиционирование
Автоматический кондиционер
Снятие и установка контроллера
Снятие и установка контроллера
Снятие и установка
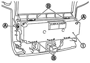
取り外し
1.コントローラーフィニッシャー(ナビゲーションシステム無車)又はクラスターリッドC(ナビゲーションシステム付車)を取り外す。「IPインストルメントパネル」の
インストルメント ASSY
を参照。
2.取付スクリュー(A)2本、及びツメ部(B)5箇所を外し、コントローラー(1)を取り外す。
取り付け
取り付けは、取り外しの逆の手順で行う。
Предыдущий: Снятие и установка плазменного кластера
Назад
Следующий: Разборка и сборка контроллера
Вперед
Необходимо поставить все оценки
'Поставьте галочку "Я не робот"'
Оцените статью
Отлично
Хорошо
Нормально
Плохо
Ужасно
Ваше имя *
Ваш E-mail *
Текст комментария *
Добавить комментарий
Закрыть