Разборка и сборка привода переднего стеклоочистителя в сборе.



SKIB7918J.JPG

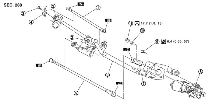
1.
ワイパーリンク2
2.
シャフトシール
3.
樹脂カバー取付スクリュー
4.
樹脂カバー
5.
ワイパーリンク1
6.
ワイパーフレーム
7.
モーターアーム
8.
ワイパーモーター
9.
ワイパーモーター取付ボルト
10.
スプリングワッシャー
11.
モーターアーム取付ナット



: N·m(kg‐m, in‐lb)





: N·m(kg‐m, ft‐lb)





: ニッサンMPスペシャルグリースNo.2



 
 分解

    1.スクリューを外し、ボールジョイント部の樹脂カバーを取り外す。
    2.フロントワイパードライブASSYからワイパーリンク1、及び2を取り外す。
    ■ 注意 ■
    ワイパーリンクを取り外すときは、リンクを曲げたり、ボールジョイントの樹脂部を損傷しないよう注意すること。
    3.モーターアーム取付ナットを外し、ワイパーモーターからモーターアームを取り外す。
    4.ワイパーモーター取付ボルトを外し、ワイパーフレームからワイパーモーターを取り外す。
 
 組み立て

    1.ワイパーモーターコネクターを接続する。ワイパースイッチをONにし、ワイパーモーターを作動させてからワイパースイッチをOFF(オートストップ)にする。
    2.ワイパーモーターコネクターを外す。
    3.ワイパーモーターをワイパーフレームに取り付ける。
    4.モーターアームをワイパーモーターに取り付け、ワイパーリンク1をモーターアーム、及びワイパーフレームに取り付ける。
    PKIC8316J.JPG
    ■ 注意 ■
    ワイパーモーターの状態を、オートストップ位置にしてから、ワイパーリンク1、モーターアームの合いマーク、及びワイパーフレームの合いマーク(中央)が一直線になるように取り付ける。
    5.ワイパーリンク2をワイパーフレームに取り付ける。
    6.ボールジョイント部の樹脂カバーを取り付ける。
    ■ 注意 ■
    • ワイパーモーターを落下させたり、他部品と干渉させないこと。
    • モーターアームとワイパーリンクのかん合部(リテーナー部)のグリース状態に注意し、必要に応じてグリースを塗布すること。
    • ニッサンMPスペシャルグリースNo.2(KRB00‐12025)

Оцените статью