ВИЗАТОР
Японские автомобильные аукционы с акцентом на Nissan NV150 AD VY12
Главная
Новости
FAQ
Аукционы
Руководства по ремонту
Nissan Wingroad Y12: полное руководство по ремонту и обслуживанию на русском языке
Поиск
Вы здесь:
Главная
Руководства по ремонту
Nissan Wingroad Y12: полное руководство по ремонту и обслуживанию на русском языке
Электрооборудование
Система освещения
Снятие и установка (светодиодного типа) высокого стоп-сигнала
Снятие и установка (светодиодного типа) высокого стоп-сигнала
Снятие и установка (типа LED)
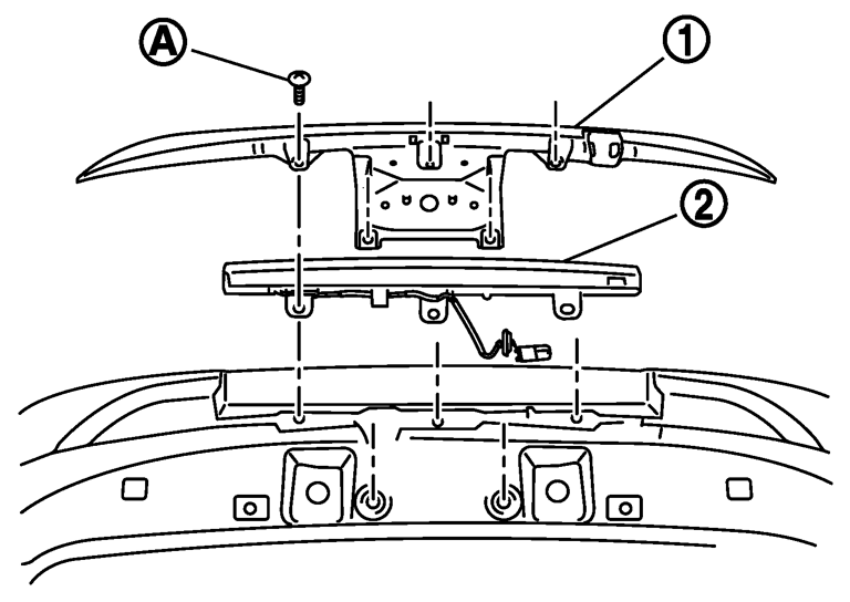
取り外し
1.ルーフスポイラーASSYを取り外す。
ルーフスポイラー
を参照。
2.ルーフスポイラーASSYからスクリュー(A)を外し、リヤスポイラーアンダーカバー(1)を取り外す。
3.ルーフスポイラーアンダーカバー(1)からグロメットを外し、ハイマウントストップランプ(2)を取り外す。
取り付け
取り付けは、取り外しの逆の手順で行う。
Предыдущий: Замена лампы (стандартный автомобиль) стоп-сигнал высокого крепления
Назад
Следующий: замена клапана лампы освещения номерного знака
Вперед
Необходимо поставить все оценки
'Поставьте галочку "Я не робот"'
Оцените статью
Отлично
Хорошо
Нормально
Плохо
Ужасно
Ваше имя *
Ваш E-mail *
Текст комментария *
Добавить комментарий
Закрыть