ВИЗАТОР
Японские автомобильные аукционы с акцентом на Nissan NV150 AD VY12
Главная
Новости
FAQ
Аукционы
Руководства по ремонту
Nissan Wingroad Y12: полное руководство по ремонту и обслуживанию на русском языке
Поиск
Вы здесь:
Главная
Руководства по ремонту
Nissan Wingroad Y12: полное руководство по ремонту и обслуживанию на русском языке
Электрооборудование
Система освещения
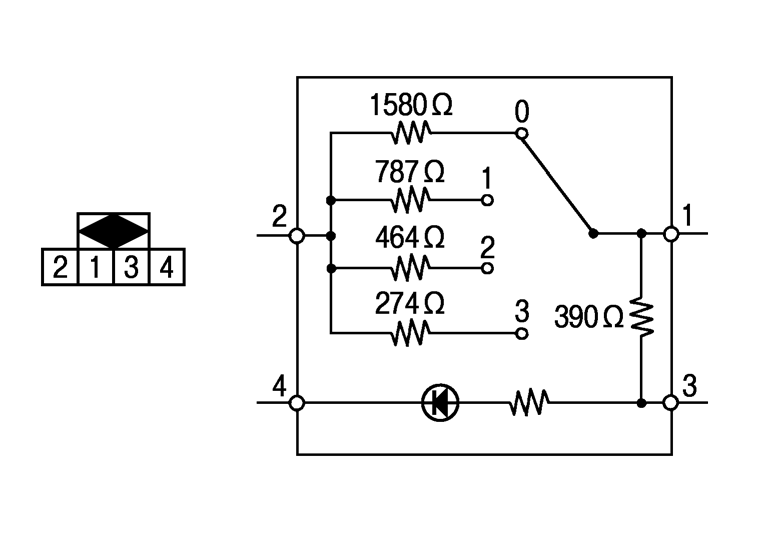
Проверка цепи переключателя корректора фар
Проверка цепи переключателя корректора фар
Проверка цепи переключателя
サーキットテスターを使用し、ヘッドランプレベライザースイッチの各作動時における端子間の導通を点検する。
Предыдущий: Схема подключения — h/aim — корректор фар
Назад
Следующий: Снятие и установка корректора фар.
Вперед
Необходимо поставить все оценки
'Поставьте галочку "Я не робот"'
Оцените статью
Отлично
Хорошо
Нормально
Плохо
Ужасно
Ваше имя *
Ваш E-mail *
Текст комментария *
Добавить комментарий
Закрыть