Логика самодиагностики


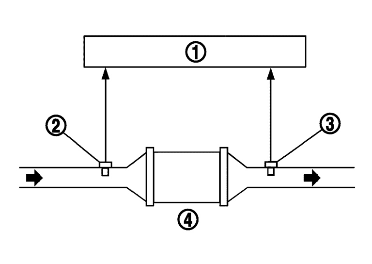
ECM(1)は空燃比センサ1(2)とO2センサ2(3)のリーンまたはリッチへの切り替えをモニタしている。三元触媒の酸素貯蔵量が多いときは、O2センサ2の切り替え頻度は低くなり、酸素貯蔵量が少ないときはO2センサ2の切り替え頻度は高くなる。ECMは空燃比センサ1とO2センサ2の切り替え比率が、許容値を超える場合故障を検出する。

JMBIA1248ZZ.JPG


DTC
自己診断名
DTC検出条件
推定原因
P0420
0420
触媒システム効率低下
  • 三元触媒が適切に作用しない。
  • 三元触媒の酸素貯蔵能力が不足している。
  • 三元触媒(マニホールド)
  • エキゾーストチューブ
  • 吸気漏れ
  • 排気漏れ
  • フューエルインジェクタ
  • フューエルインジェクタからの燃料漏れ
  • スパークプラグ
  • 点火時期不良

Оцените статью