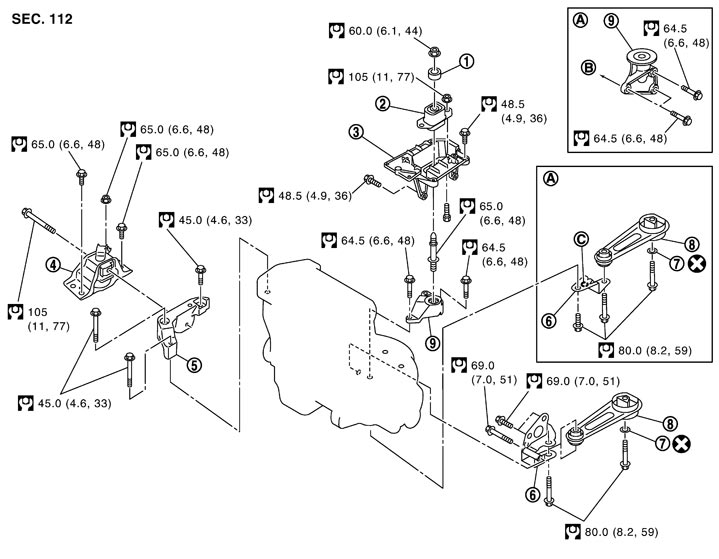
Схема конфигурации
|
1. |
マスダンパー(CVT) |
2. |
左エンジンマウントインシュレーター |
3. |
左エンジンマウントブラケット(車両側) |
|
4. |
右エンジンマウントインシュレーター |
5. |
右エンジンマウントブラケット |
6. |
リヤエンジンマウントブラケット |
|
7. |
ワッシャー |
8. |
リヤトルクロッド |
9. |
左エンジンマウントブラケット(トランスアクスル側) |
|
A. |
CVT |
B. |
トランスアクスル左側面へ |
C. |
フロントマーク |
- 構成図内のシンボルマークについては、GI編構成図の見方 を参照する。